Prologue
사람들이 여러 가지 이유로 맞장을 뜨듯,
기업들도 여러 가지 이유로 맞장(소송)을 뜬다.
복수때문에? (소중하게 일궈놓은 내 아이템을 빼앗아가서?)
명예때문에? (기업 이미지나 명예가 망가지는 것을 막기 위해서?)
재산때문에? ( 장 파이(시장점유율)을 뺏기지 않기 위해서!?)
뭐든 맞지만,
현대 사회에서는 다 종이 로 말 로 싸운다.
계약서 한 장 안 썼다면 그 계약서가 없어서 울고 웃는다.
계약서 한 장, 한 문단, 한 단어에 울고 웃는다.
생각보다 중요하고 인생에서 커다란 위기와 기회의 순간마다 계약서를 쓰지만,
정작, 아무도 그 계약서의 진정한 의미를 알려주지 않는다.
심지어, 엄마도 선생님도 변호사도 모른다.
법원 앞에 설때 까지.
개인이야 혼자 인생 망하면 그만이지만, 사업자나 기업은 아닐 것이다.
특히 대표님, 자영업자, 전문직 등등
그래서 나는 어려운 계약서를 쉽게 말해주는 글을 써보고자 한다.
일단 가장 어려운 계약서인 특허부터!
기업맞장 1화
첫번째 기업 맞장의 주인공은 적외선 가열기의 선발주자 자이글 vs 후발주자 이지그릴!
자이글이야 워낙 유명한 적외선 가열조리기구의 선두 그룹이자 이 시장의 개척자라고 해도 과언이 아닌 기업이고,
후발주자로서 비슷한 기업들이 우후죽순 생겨났는데, 그중 하나가 이지 그릴!
과연 이번 기업 맞장에서는 어떤 맞장의 스킬을 얻을 수 있을까?
맞장의 스킬 1 - "계약서 조항 (=특허의 청구범위(권리범위))는 함부로 제한해석될 수 없다"
계약서의 조항의 해석과 마찬가지로, 특허의 청구범위를 해석하는 가장 기본적인 원칙이다.
(계약해석의 원칙 - "규범적(norm) 해석")
( 대법원 2023. 3. 30. 선고 2022다299669 판결 등)
당사자 사이에 계약의 해석을 둘러싸고 이견이 있어 처분문서에 나타난 당사자의 의사해석이 문제 되는 경우에는 문언의 내용, 약정이 이루어진 동기와 경위, 약정으로 달성하려는 목적, 당사자의 진정한 의사 등을 종합적으로 고찰하여 논리와 경험의 법칙에 따라 합리적으로 해석하여야 한다.
이 경우 문언의 객관적인 의미가 명확하다면, 특별한 사정이 없는 한 문언대로 의사표시의 존재와 내용을 인정하여야 한다. )
(참고 - 특별한 사정: 불명확한 문언의 의미, 권리 중대 제한 조항, 대법원 2014. 6. 26. 선고 2014다14115 판결 참조)
문언의 객관적인 의미가 명확하게 드러나지 않는 경우에는 당사자의 내심의 의사 여하에 관계없이 문언의 내용과 계약이 이루어지게 된 동기 및 경위, 당사자가 계약에 의하여 달성하려고 하는 목적과 진정한 의사, 거래의 관행 등을 종합적으로 고찰하여 사회정의와 형평의 이념에 맞도록 논리와 경험의 법칙, 그리고 사회일반의 상식과 거래의 통념에 따라 당사자 사이의 계약의 내용을 합리적으로 해석하여야 하고,
특히 당사자 일방이 주장하는 계약의 내용이 상대방에게 중대한 책임을 부과하거나 그가 보유하는 소유권 등 권리의 중요한 부분을 침해 내지 제한하게 되는 경우에는 문언의 내용을 더욱 엄격하게 해석하여야 한다.
하지만, 용어 정의 외에 계약서 조항을 구체적으로 설명하고 있지 않는 계약서와 달리, (따라서, 계약 동기, 계약 목적, 거래 관행 을 살핀다.)
특허는, 모든 사람들이 해당 특허를 침해하지 말도록 설명해야 할 의무 때문에, 종속항과 도면, 발명의 설명이 청구범위 뒤에 부가된다.
그러나, 권리범위의 이해를 돕기 위한 종속항 및 도면에 의해, 제한해석 금지의 원칙이 다소 훼손되고 있는 것이 사실이다.
이를 명백하게 짚은 최근 자이글 판례를 리뷰해보려고 한다. (자료는 아래 참조...물론 봐도 넘나 어려운 것...)
일단 3줄 요약:
1. 계약서 조항(특허 청구범위)에 써있지 않은 사항(예) 침해대상발명이 가진 별도의 기능(효과)이나 기술적 특징)은 빼고 해석해야 한다.
2. 계약서 메인 조항(독립항)을 한정, 구체화하는 별개의 조항(종속항)에 문제되는(한정적인) 용어가 있다면, 독립항은 그 한정되는 용어가 빠진 것으로 넓게 해석해야 한다.
3. 도면에 문제되는(한정적인) 구성이 있다면, 독립항은 그 한정적인 구성이 빠진 것으로 넓게 해석해야 한다.
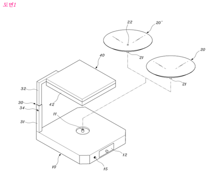
| 청구항 1 |
| 상면 중앙에 관통형 축공(11)이 형성되고, 일측에 전원을 제어하는 스위치(15)가 구비된 받침대(10)와; |
| 상면에 음식물을 담을 수 있는 원판형 용기로서 , 솥뚜껑을 뒤집어 높은 형태로 아래로 볼록하고, 하면 중앙에는 상기 축공에 분리 가능하게 삽입되는 축돌기, (11) (21) 가 형성되어 있고, 상기 축돌기와 상기 축공의 삽입 결합에 의해 상기 받침대(21) (11) 상단에 회전가능하게 설치되며(10) 적외선을 받으면 가열되는, 회전팬(20, 20') |
| 상기 받침대(10)의 일측에 세로방향으로 설치되는 지지대(30)와; |
| 상기 지지대(30)의 상단에 설치되며, 전원을 인가받아 상기 회전팬(20,20')을 향하여 적외선을 조사하는 적외선 조사부(40);로 구성된 것을 특징으로 하는 적외선 가열 조리기. |
| 청구항 2 |
| 제1항에 있어서, 상기 받침대 (10) 에는 내부에서 인출가능하게 기름받이통이 더 포함되고(12) , 상기 회전팬의 축돌기에는 축 방향으로 기름배출공이 형성된 것을 특징으로 하는 적외선 가열 조리기. |



(정리된 내용은 엑셀 참조)
'education for work-less-earn-more' 카테고리의 다른 글
| 기업맞장 3화 : 온누리전자 v. 신화인터텍 [디스플레이/특허/계약] (0) | 2024.12.04 |
|---|---|
| 기업맞장 2화 : 디스플레이제작용품 발주업체 v. 수주업체 [기계/영업비밀] (0) | 2024.11.26 |
| 로열티 계약서 작성시 주의사항 / 세빠입 : 세상에서 가장 빠른 입(IP)법 정보 (20241107) (0) | 2024.11.07 |
| 세빠부(20241106) - 세상에서 가장 빠른 부동산법 소식: "이거" 안 하면 매매대금 떼먹어서 가압류 해도 이자도 못받는다 (0) | 2024.11.06 |
| 세빠부 - 세상에서 가장 빠른 부동산법 소식: "이거" 하면 재건축 없었던 걸로 보는거다? (20241105) (0) | 2024.11.05 |